Войти в систему

Home
    - Создать дневник
    - Написать в дневник
       - Подробный режим

LJ.Rossia.org
    - Новости сайта
    - Общие настройки
    - Sitemap
    - Оплата
    - ljr-fif

Редактировать...
    - Настройки
    - Список друзей
    - Дневник
    - Картинки
    - Пароль
    - Вид дневника

Сообщества

Настроить S2

Помощь
    - Забыли пароль?
    - FAQ
    - Тех. поддержка



Пишет troitsa1 ([info]troitsa1)
@ 2011-11-15 12:36:00


Previous Entry  Add to memories!  Tell a Friend!  Next Entry
Правдивая Байка № 74. Лесосплав на Паше
Однажды в одном Советском сообществе в ЖЖ затронули тему школьных практик: кто и куда ездил. Картошка, яблоки, виноград и любимое занятие советских школьников – сбор лепестков роз в Крыму. Это вершина.

А у меня была такая необычная практика, что вы не поверите сразу. Я расскажу, может и поверите… В том сообществе ахнули, современные мамаши зашебуршили в страхе ножками. А это было!

После 9-го класса в 1974 году нас послали на 101-й километр. Как Бродского. Но его за тунеядство, а нас на производственную практику. Производить брёвна. Нужного диаметра. Лесосплав на реке Паша, деревня тоже Паша, а область была и есть Ленинградская.

Представляете? Вашему ребёнку 16 лет и его посылают на целый месяц, на лесосплав, где (все же знают!) работают бывшие зэки, ссыльные тунеядцы и алкаши. И они таки там были массово! Нынешние мамаши телами своими не пущают сынов в армию, так что бы они заверещали про это? Дитё ж совсем!

Два класса, примерно 70 школьников и двое взрослых учителей, спокойно поехали и спокойно вернулись, отработав честно в три смены. Да, и ночная смена была… Такая романтичная, белые ночи же.

Чтобы понятно стало, чем и где мы работали вот коротенький ликбез. Не все же мои френды сидели или были алкашами? :)))

В лесосплавной практике СССР существуют следующие основные способы сплава леса: молевой, котельный, плотовый и перевозка леса на судах.

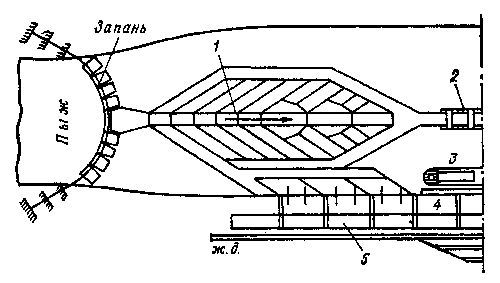
Давайте схему покажу, чтобы понятнее стало. Вот почти на такой хреновине мы и работали. Вон в середине схемы - дворики! Много. И на каждый дворик ставили школьника.

Photobucket

Схема лесного рейда.
1 - сортировочный рейд; 2 - сплоточная машина; 3 - судно; 4 - причал; 5 - склад.

А вот так выглядит запонь на фото. Страшно?
Photobucket

Плоты приплывали, их распускали, а брёвна в запонь и запускались. Длина у всех брёвен 6 метров, а толщина разная. Вот для того мы и работали: сортировали их по диаметрам.
В каждый дворик, который после запони, надо было затянуть багром бревно, согласно выданному заданию. Крепкие мальчики и девочки тягали крупные брёвна, субтильные тащили тощенькие брёвнышки. На секунду задумайтесь: а кому труднее? Кто тягает толстые брёвна или тоненькие? Удивлю: тонкие. В них же ещё попасть надо багром!

Вот посмотрите на марку, чтоб про багры и наш труд понять. С нас рисовали :))

Photobucket

Субтильные отпрыски чаще и падали в воду. Промахивались. Все побывали в воде… между брёвен, которые плывут, напирают друг на друга… Страшно же, мамаши? А наши девчонки только заливисто смеялись, упав в воду. Хоть и глубоко там, но до мостков только несколько гребков.

Только однажды и мне стало страшно. Моя соседка по дворику, самая крупная наша девушка, тоже с шумом упала во дворик. Тихо сказала: «…а я совсем не умею плавать…». И сложила руки, стала натурально тонуть. Мы попрыгали в воду, но как её спасать? Она была больше и крупнее многих из нас! Похвастаюсь: сообразил я. «Давайте её перевернём на спину, и, как бревно, будем толкать!». Не знаю, что скажут врачи про воду в лёгких, но мы её дотолкали до берега, выволокли на берег и приступили к дыханию рот-в-рот… Получили по морде! Никогда не видел, чтобы утопленница так резво бежала от спасателей : ))) Девчонки потом объяснили: на ней не было бюстгальтера, а футболка была вся мокрая, потому и рванула! Как мы с пацанами расстраивались, что не заметили этого, мы же испугались!

Самое загадочное - это отношение местных к нам. Ни разу не то, что драки, взгляда косого не было. На наших девчонок он, конечно, заглядывались. Была проведена взрослыми среди девиц беседа, юбки отменялись, декольте отменялось, шаровары поощрялись. Смешным было каждое умывальное утро: все склоны и кусты были усеяны местными мужиками… И крики местных баб: Ты опять тут! Корова не в поле, крыша не починена, а он глазеет! А мужики даже не отбивались – они глазели! Знаете, а девицам нашим это нравилось! Женщины… они такие женщины.

Отсутствие конфликтов мы списывали на наш ансамбль. Группа «Лель». Настоящие дорогущие инструменты, усилители фирмовые, микрофоны, хорошие музыканты, все из наших классов. Танцы через день. Местных не пускали, они сидели у открытых окон и впервые в жизни слышали живые инструменты: гитары, ударная установка и синтезатор. И примочки! От одного местного услышал, как он дружку своему говорил: «… и весь мой ливер подпрыгивал в такт барабану! Завтра опять пойду, это лучше девки!»

Да, местные надоумили нас попробовать одеколон, водку же нам не продавали в магазинчике. И спасибо им! Первый и последний раз в моей жизни пробовал: такая гадость! Одному парню я написал письмо его матери, он был почти неграмотен. Я повзрослел за этот месяц на много лет, я увидел, что питерской интеллигентской семьёй мир не заканчивается. Он настолько ширше!..

Расскажу специально для девушек сценку.

Вся школа знала, что я безответно был влюблён в одну девочку. Школьный коллектив был разделён пополам. Одни недоумевали: высокий, симпатичный, умный, один из лидеров школы. «Чего ж тебе ещё надо, собака!». Вторая половина: конечно, лидеру всё можно, он мнит, что любая девка просто обязана с ним гулять! Это преимущественно девочки :))

Наша знаменитая группа устроила на очередных танцах пердюмонокль. Она объявила «белый танец» только для двоих. Для НЕЁ и для меня…Я был готов умереть на месте. Она не пригласила!

Продолжение сценки. Стульев для всех не хватало, одна девочка перешла весь зал и попросилась сесть мне на колени. Села. На глазах сотни людей… Мы, мужики, очень тупые, даже 9-й класс меня не оправдывает. Я ни черта не понял главного! Поступка. Стульев же действительно не хватало…

Про эту отважную и влюблённую девочку Лену я написал в посте.
Прочтите, может и всплакнёте.

Вот так мы и взрослели. За месяц я повзрослел лет на пять… А как похорошели наши девчонки! Они поняли всю прелесть, когда незнакомые мужики впадают в ступор и глазеют. Жена орёт, лупит, чем ни попадя, а он смотрит! На меня! Жить так прекрасно!


(Добавить комментарий)

Хорошо написано!
[info]likusha@lj
2011-11-15 06:43 (ссылка)
Я была там на Паше. Не помню, в каком году - приезжала повидаться со своим классом...
Процесса рабочего мне не показали - наверно, не хотели или не могли.
Но порадовали меня ребята тем, что после одного инцидента в школе, когда их ругал завуч, а они стояли и молчали, опустив головы - а я их потом отругала, зачем терпели, должны были отказаться разговаривать в таком тоне! - вот после такой беседы они использовали этот мой урок и отказались слушать несправедливую нотацию физрука - и даже он потом извинился перед ними... "Не разобрался, ребята, уж вы простите!"
Это был , кажется, десятый...
Я рада была, что съездила, ребята так обрадовались!

(Ответить) (Ветвь дискуссии)

Re: Хорошо написано!
[info]troitsa1@lj
2011-11-15 06:50 (ссылка)
Меня спросили в сообществе, а кто придумал послать школьников на лесосплав, кто разрешил. Случайно, не знаете?

(Ответить) (Уровень выше) (Ветвь дискуссии)

Re: Хорошо написано!
[info]likusha@lj
2011-11-16 14:38 (ссылка)
Не знаю. Я понятия не имела, что это такое опасное дело.Если бы знала - возражала бы. Но кто нас спрашивал?

(Ответить) (Уровень выше) (Ветвь дискуссии)

Re: Хорошо написано!
[info]troitsa1@lj
2011-11-16 16:11 (ссылка)
Как здорово, что Вы не возражали!!! :)

Поверьте, это было круто. Как и "Король Лир". Я Вам за многое благодарен, но за Короля особо!

Неужели ничего не знаете?

(Ответить) (Уровень выше) (Ветвь дискуссии)

Re: Хорошо написано!
[info]likusha@lj
2011-11-17 09:02 (ссылка)
Начальство считало, что нас не касается, а ребята, с которыми я увиделась, думаю, просто не хотели меня огорчать.
А что я такого про Лира вам говорила?
Мне от инспекторов иногда попадало - почему на Горького у меня по журналу было 7 часов ( полагалось больше). А на Шекспира вместо 4 - 12 или больше.
У меня были свои соображения - что важнее...

(Ответить) (Уровень выше) (Ветвь дискуссии)

Re: Хорошо написано!
[info]troitsa1@lj
2011-11-17 09:13 (ссылка)
Вот про это я и говорю! Почти целую четверть Вы нам давали Шекспира. А я читал перед классом " быть иль не быть", послушав дома Смоктуновского на пластинке. Класс лежал. А Вы сказали: "Если бы ты мог и Короля Лира так прочесть!". Вечером я грыз всего Шекспира.

Да, ещё помню. "Мы тут по плану должны пройти это и ещё это, но четверть кончается, сами прочтёте".

Мы с Вами во многом не согласны. Но скажу Вам приятное - именно Вы научили меня свободе. Иначе думать, иначе любить, иначе жить! И я рад, что вы меня не помните. Вы научили жить многих!

(Ответить) (Уровень выше)


[info]tsarskoye@lj
2011-11-15 07:55 (ссылка)
Сейчас и сплава то, наверное, нету.

(Ответить) (Ветвь дискуссии)


[info]troitsa1@lj
2011-11-15 08:10 (ссылка)
Там - не знаю, а в Карелии ещё есть...

(Ответить) (Уровень выше)


[info]22sobaki@lj
2011-11-15 07:57 (ссылка)
Лесосплав - вот это я понимаю. А мы в каких-то грядках копались...

(Ответить) (Ветвь дискуссии)


[info]troitsa1@lj
2011-11-15 08:09 (ссылка)
Ага! И мы гордились :)

(Ответить) (Уровень выше)


[info]buldoga@lj
2011-11-15 14:58 (ссылка)
Вот это я понимаю - настоящее приключение :)

(Ответить) (Ветвь дискуссии)


[info]troitsa1@lj
2011-11-15 15:10 (ссылка)
Это точно!

Там ещё много было мелких приключений...

(Ответить) (Уровень выше)


[info]z_laya@lj
2012-01-14 14:45 (ссылка)
и... просто ах...

(Ответить)


[info]mavledina@lj
2015-06-22 15:54 (ссылка)
Вот это да, городских почти детей на сплав посылали! Мы, хотя и выросли на сплавной реке, по этой сортировке только, если на спор, бегали по бревнам. А работать с багром, нет, не допускали.
Странно все это.
А то,что было для вас экзотикой, понимаю.))

(Ответить) (Ветвь дискуссии)


[info]troitsa1@lj
2015-06-22 16:50 (ссылка)
Не экзотика, взросление. За месяц пять лет...

(Ответить) (Уровень выше)